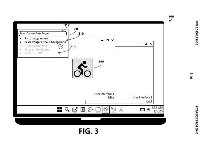
IT之家12月17日报道 科技媒体Windows Central昨日(12月16日)发表博文,报道称在美国专利商标局的公开清单上发现了微软提交的一项新专利,表明其计划将Copilot AI深度集成到Windows剪贴板中。该专利描述了一种可以处理复制数据并使用人工智能进行智能处理的系统。与过去简单的“复制粘贴”不同,新系统允许用户在粘贴之前对内容进行“版本转换”或“格式更改”。外媒评价其为微软近年来最实用、真正富有成效的AI创新。 IT之家援引专利内容表示,这种改进后的剪贴板功能非常强大。对于普通用户来说,它支持一键去除复制图像的背景,轻松创建贴纸或演示材料;对于专业人士来说,它可以立即将纯文本数据转换为标准文本结构化表格,甚至直接生成适合网页的 HTML 代码。此外,系统还支持编程语言的相互转换,并允许用户输入自定义提示(Prompt),例如“将此内容更改为项目符号列表”。用户可以在执行粘贴动作之前预览所有AI处理的结果,从而大大减少了以前需要打开单独的AI窗口进行格式调整的繁琐步骤。虽然专利不一定会转化为最终产品,但该功能的原型实际上已经存在于开源 Microsoft 的 ce 工具集中 PowerToys 中。该功能称为“高级粘贴”,由 Windows 团队开发。用户安装PowerToys后,可以通过快捷键“Win+Shift+V”调用界面。目前,基本的纯文本转换可以开箱即用,但要体验更高级的 AI 转换功能,用户需要在设置中输入 OpenAI API 密钥。
规格声明:以上内容(如有,包括照片或视频)由自媒体平台“网易号”用户上传发布。本平台仅提供信息存储服务。
注:以上内容(如有,包括图片、视频)由网易号用户上传发布,网易号为社交媒体平台,仅提供信息存储服务。
校园风采
>校区风采 微软Win11新专利获批:剪贴板接受AI改造、一键代码翻译等
2025-12-17
